气动风炮分解图,就是气动风炮零部件拆解示意图,是为客户再维修时方便选择配件的图例,我们也称气动风炮爆炸图。今天我们就天赋工具Geniustools最常用的气动扳手分解图为大家做一个介绍:

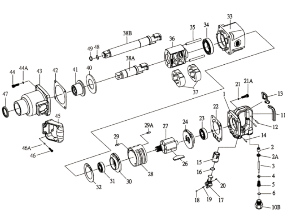
天赋工具手持式1/2"方头400500气动风炮分解图
气动风炮由于叶片的大小长度不一,风炮的规格型号也就不同。我们经常以风炮的样式来给风炮划分名称,一般3/8"方头和1/2"方头尺寸的气动扳手我们称之为“小风炮”,3/4"方头,1"方头,1-1/2"尺寸气动扳手一般称之为“重型风炮”,也叫大风炮。
天赋工具1"方头801800重型气动风炮分解图
气动扳手的型号比较多,大多是以其内部转子上安装的叶片的长度来区分。叶片的长度不等,转子的长度也会随着叶片长度的变化而变化,转子所在的气缸的大小也会随着变化,这也就是为什么,风炮力量越大,叶片也就越长,转子越大,气缸越大,耗气量也就越大,对空压机的要求会增加,还有一点就是风炮自身的重量也会增加,以上时我们按照天赋工具常规的小气动风炮和重型风炮作为例子,为大家分享一下气动风炮的分解图,其实,从配件结构上讲,气动风炮的主要零部件基本相同,可以为大家选择零部件时做个参考。
如果客户需要维修天赋工具气动扳手,气动风炮,可以直接再天赋工具官网首页搜索产品货号,产品的详细信息中都有对应气动风炮分解图的PDF文件可以直接下载,例如:https://www.geniustools.cn/801800_p3416.html,感谢大家对天赋工具的支持和厚爱,希望我们的介绍对您有所帮助。


